
Bird Feeder
A hanging bird feeder for small birds.
Intro
We have a large bird feeder in our garden, that is mostly used by larger birds. Smaller birds seem to be very cautious about approaching it. Therefore I designed this bird feeder specifically for small birds like the Paridae.
The design is 100% printable, not requiring any external parts like nuts or bolts.
The lid can be easily attached via a twist-lock implemented into the design. This allows for easy attachment of the base to the lid, pratctial during refilling the bird feeder.
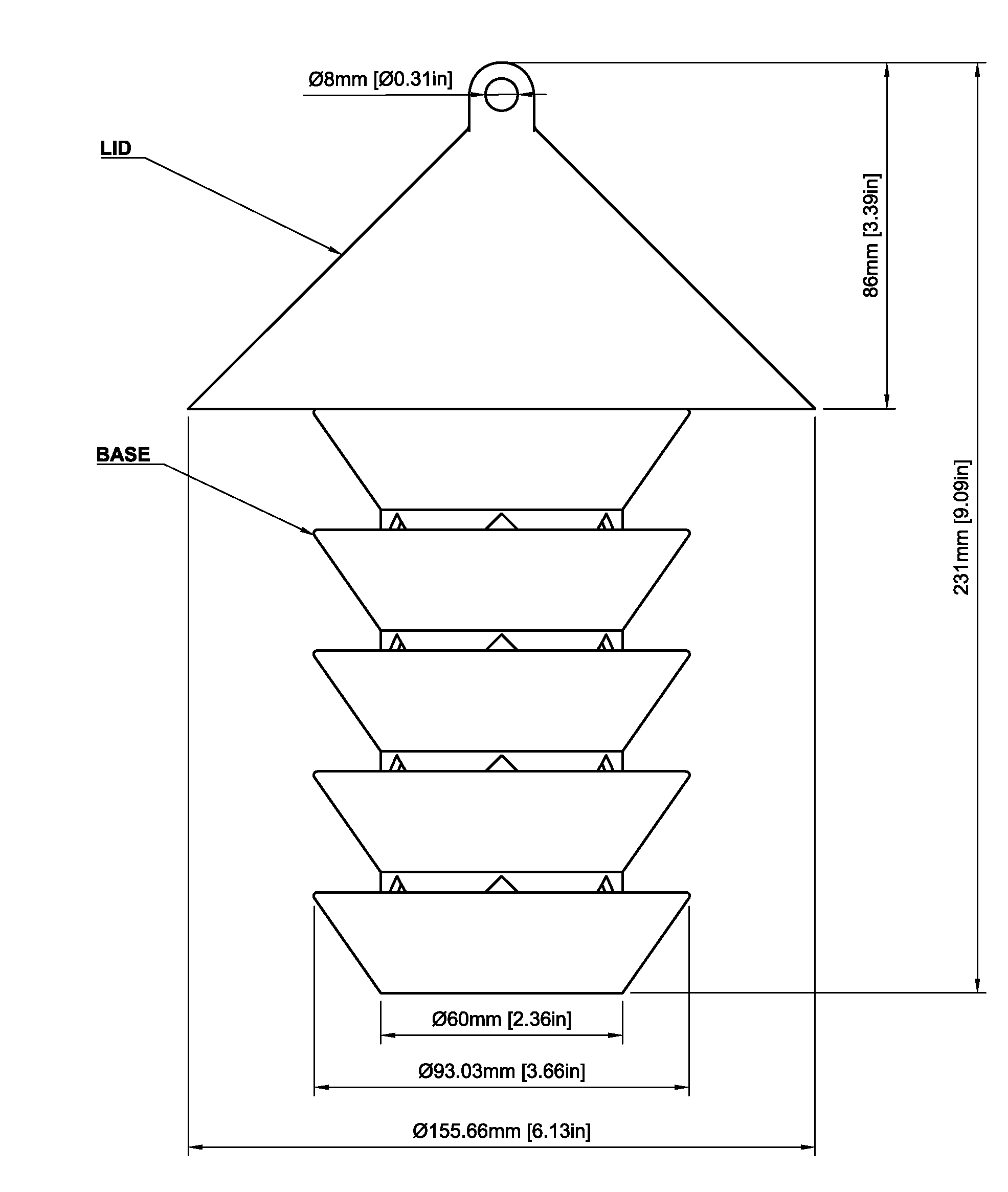
Dimensions
Dimensions are as follows (note that slight variations are possible due to the 3D printing process):
3D CAD Files
There are two types of parts available as download, normal files and pre-sliced ones for Prusa Slicer, which contain suggested print settings for printing on a Prusa i3 MK3S with PLA.
> Option 2: (local download)
Donwload Files
Download Pre-Sliced Files
All the parts should be printed in the provided orientation!
Printing
These are suggested print settings:
| Layer Height | 0.2mm or 0.3mm | Choose betwen smoother surface or faster printing speed | |
| Supports | No | Supports are not necessary | |
| Infill | 10-20% | More infill is not necessary | |
| Material | PETG | PETG is more weather resistant than PLA |
Print duration for the lid is approximately 4.5h, and for the base 7hr (depending on your slicer-settings).
Gallery






